BR 103
Wyjątkowo prosta forma stojaka doskonale wpasowuje się w otoczenie architektury miejskiej.
1
Mounting options

mounting plate

inground mounting
system
2
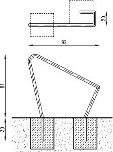
Bent steel pipe,
diameter
33
mm
42
mm
48
mm
3
The stand may be galvanized
or powder coated in each color
Version with montage foot for anchor with bolts to existing foundation
Version with posts longer to be concreted into the ground